.png)
Tükendi
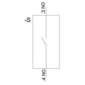
Gelince Haber VerKontak Modülü 1 Kontak Elemanlı 1NO Vida Tipi Klemens Ön Panele Montaj İ̇çin Minimum Sipariş Miktarı 5 Veya Onun Katı
| Ürün Marka Adı | SIRIUS ACT |
|---|---|
| Ürün Tanımı | Kontak modülü |
| Ürün Tipi Tanımı | 3SU1 |
| Duy Modeli | Diğer |
|---|
| Ürün Fonksiyonu Zorla Açma | Hayir |
|---|---|
| İ̇zolasyon Gerilimi Anma Değeri | 500 V |
| Kirlilik Derecesi | 3 |
| Gerilim Türü | |
| İ̇şletim Gerilimi | AC/DC |
| Giriş Gerilimi | AC/DC |
| Şok Gerilim Mukavemeti Anma Değeri | 6 kV |
| IP Koruma Türü | |
| Muhafaza | İP40 |
| Bağlantι Terminali | İP20 |
| Şok Mukavemeti | |
| IEC 60068-2-27 Uyarınca | Yarım sinüs dalgası 15 g / 11 ms |
| Demiryolu Uygulamaları İ̇çin En 61373 Uyarınca | Kategori 1, sınıf B |
| Titreşime Dayanıklılık | |
| IEC 60068-2-6 Uyarınca | 10 ... 500 Hz: 5 g |
| Anahtarlama Frekansı Maksimum | 3 600 1/h |
| Mekanik Kullanım Süresi (işletim Çevrimleri) Tipik | 10 000 000 |
| Elektrikli İ̇şletim Süresi (işletim Çevrimleri) Tipik | 10 000 000 |
| Termik Akım | 10 A |
| Referans İ̇şareti IEC 81346-2:2009 Uyarınca | S |
| Daimi Akım C Karakteristik Minyatür Devre Kesicinin | 10 A |
| RoHS Yönetmeliği (tarih) | 10/01/2014 |
| MB Başına Net Ağırlık | 8,2 g |
| İ̇şletim Gerilimi | |
| Ac'de | |
| 50 Hz'de Anma Değeri | 5 ... 500 V |
| 60 Hz'de Anma Değeri | 5 ... 500 V |
| Dc'de Anma Değeri | 5 ... 500 V |
| Kontak Güvenilirliği | 100 milyonda bir hatalı anahtarlama 17 V, 5 mA), 10 milyonda bir hatalı anahtarlama (5 V, 1 mA) |
|---|
| Yardımcı Kontak Modeli Yardımcı Kontaklar | Gümüş alaşım |
|---|---|
| Açıcı Sayısı Yardımcı Kontaklar İ̇çin | 0 |
| Sonradan Devreye Giren | 0 |
| Kapayıcı Sayısı Yardımcı Kontaklar İ̇çin | 1 |
| Ön Anahtarlamalı | 0 |
| İ̇şletim Akımı AC-12'DE | |
| 24 V'ta Anma Değeri | 10 A |
| 48 V’ta Anma Değeri | 10 A |
| 110 V'ta Anma Değeri | 10 A |
| 230 V'ta Anma Değeri | 8 A |
| 400 V'ta Anma Değeri | 8 A |
| İ̇şletim Akımı AC-15'TE | |
| 24 V'ta Anma Değeri | 6 A |
| 48 V’ta Anma Değeri | 6 A |
| 110 V'ta Anma Değeri | 6 A |
| 230 V'ta Anma Değeri | 6 A |
| 400 V'ta Anma Değeri | 3 A |
| 500 V'ta Anma Değeri | 1,4 A |
| İ̇şletim Akımı DC-12'DE | |
| 48 V’ta Anma Değeri | 5 A |
| 110 V'ta Anma Değeri | 2,5 A |
| 230 V'ta Anma Değeri | 1 A |
| 400 V'ta Anma Değeri | 0,3 A |
| 500 V'ta Anma Değeri | 0,3 A |
| İ̇şletim Akımı DC-13'TE | |
| 24 V'ta Anma Değeri | 3 A |
| 48 V’ta Anma Değeri | 1,5 A |
| 110 V'ta Anma Değeri | 0,7 A |
| 230 V'ta Anma Değeri | 0,3 A |
| 400 V'ta Anma Değeri | 0,1 A |
| 500 V'ta Anma Değeri | 0,1 A |
| Elektrik Bağlantısı Modeli | Vida tipi klemens |
|---|---|
| Bağlanabilir İ̇letken Kesiti Türü | |
| Tek Telli Kablo Uç İ̇şlemeli | 2x (0,5 ... 0,75 mm²) |
| Tek Telli Kablo Uç İ̇şlemesiz | 2x (1,0 ... 1,5 mm²) |
| İ̇nce Telli Kablo Uç İ̇şlemeli | 2x (0,5 ... 1,5 mm²) |
| İ̇nce Telli Kablo Uç İ̇şlemesiz | 2x (1,0 ... 1,5 mm²) |
| AWG Hatlarında | 2x (18 ... 14) |
| Sıkma Torku Vida Bağlantısında | 0,8 ... 0,9 N·m |
| Ortam Sıcaklığı | |
|---|---|
| İ̇şletim Sırasında | 25 ... +70 °C |
| Depolama Sırasında | 40 ... +80 °C |
| Çevre Kategorisi İ̇şletim Sırasında IEC 60721 Uyarınca | 3M6, 3S2, 3B2, 3C3 (tuz sisi olmadan), 3K6 (%10 ... 95 bağıl nemde, işletim sırasında yoğuşmaya izin verilmez) |
| Sabitleme Türü | Ön panele montaj |
|---|---|
| Modül Ve Aksesuar | Ön plaka tespiti |
| Yükseklik | 33,2 mm |
| Genişlik | 9,8 mm |
| Derinlik | 27,7 mm |
| Entegrason Uygunluğu | |
| Plastik Muhafaza | Evet |
| Metal Muhafaza | Evet |
| Çevresel Ürün Açıklaması | |
| Küresel İsınma Potansiyeli [co2 Eq] / Üretim Esnasında | 0.566 kg |
| Küresel İsınma Potansiyeli [co2 Eq] / İ̇şletim Sırasında | 0.235 kg |
| Küresel İsınma Potansiyeli [co2 Eq] / Kullanım Ömrü Uyarınca | 0.0145 kg |
| Küresel İsınma Potansiyeli [co2 Eq] / Toplam | 0.787 kg |
| Değer | |
|---|---|
| Yaşam Döngüsü Durumu | Aktif Ürün |
| Ürün Ailesi | Modules Ürün ailesi |
| EAN | 4011209937215 |
| UPC | 804766073267 |
| Emtia Kodu (gti̇p) | 85365080 |
| Müşteri Fiyatı | |
|---|---|
| Liste Fiyatı | |
| Fi̇yat Grubu / HQ Fiyat Grubu | 41J |
| Hammadde İ̇çin Ek Ücret | |
| Metal Faktör | LBO----- Metal Faktör |
| İ̇̇hracat Kontrol Düzenlemeleri | L : N / ECCN : N |
|---|---|
| Standart Teslim Süresi | 3 Gün(ler) |
| Ambalaj Boyutları (u X G X Y) | 33,00 x 25,00 x 11,00 mm |
| Net Ağırlık | 0,0082 Kg |
| Miktar Birim | 1 Adet |
| Paket Miktarı | 1 |
| Minimum Order Quantity | 5 |
| Tehlikeli Mallar | Hayır |
| WEEE (2012/19/eu) Geri Alma Yükümlülükleri | Evet |
|---|---|
| Compliance With The Substance Restrictions According To RoHS Directive | Since: 01.10.2014 |
| REACH Art. 33 Duty To İ̇nform According To The Current List Of Candidates | Reach Information |
| Değer | Reach Information |
| SCIP Numarası | yok |
| Sürdürülebilirlik |
| Ürün Kodu | 5452 |
|---|---|
| Katalog Kodu | CC-IC10 |
| Group Code | R711 |
| Menşei Ülke | Almanya |
| Ürün Sınıfı | A: Standard product which is a stock item could be returned within the returns guidelines/period. |
| Eclass | Sürüm : 14, Sınıflandırma : 27-37-13-02 Sürüm : 12, Sınıflandırma : 27-37-13-02 Sürüm : 9.1, Sınıflandırma : 27-37-13-02 Sürüm : 9, Sınıflandırma : 27-37-13-02 Sürüm : 8, Sınıflandırma : 27-37-13-02 Sürüm : 7.1, Sınıflandırma : 27-37-13-02 Sürüm : 6, Sınıflandırma : 27-37-13-02 |
|---|---|
| Sürüm | 14, Sınıflandırma : 27-37-13-02 |
| Sürüm | 12, Sınıflandırma : 27-37-13-02 |
| Sürüm | 9.1, Sınıflandırma : 27-37-13-02 |
| Sürüm | 9, Sınıflandırma : 27-37-13-02 |
| Sürüm | 8, Sınıflandırma : 27-37-13-02 |
| Sürüm | 7.1, Sınıflandırma : 27-37-13-02 |
| Sürüm | 6, Sınıflandırma : 27-37-13-02 |
| ETIM | Sürüm : 10, Sınıflandırma : EC000041 Sürüm : 9, Sınıflandırma : EC000041 Sürüm : 8, Sınıflandırma : EC000041 Sürüm : 7, Sınıflandırma : EC000041 |
| Sürüm | 10, Sınıflandırma : EC000041 |
| Sürüm | 9, Sınıflandırma : EC000041 |
| Sürüm | 8, Sınıflandırma : EC000041 |
| Sürüm | 7, Sınıflandırma : EC000041 |
| UNSPSC | Sürüm : 15, Sınıflandırma : 39-12-22-21 |
| Sürüm | 15, Sınıflandırma : 39-12-22-21 |
Ürünlerimiz kendi stoklarımızdan sizlere gönderilmektedir.
Stokta olmayan ürünleri eğer üretimden kalkmadıysa sizler için tedarik edebiliriz. Bu tür ürünler için bizimle iletişime geçebilirsiniz.
Firmamız E-Fatura mükellefidir.
Satın almış olduğunuz ürünler %100 müşteri memnuniyeti kapsamında ambalajlı, ürünün orijinalliğinin bozulmamış olması kaydı ile 14 gün içerisinde iade alınabilmektedir..